MI stainless steel combi unit 90 degree - S-trap

Where high security needs and space management are paramount, McDonald Industries has the answer to provide a safe environment for residents and personnel alike, that doesn't compromise on function for users with movements limitations.

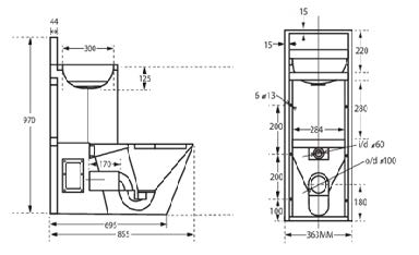
The MI-COMBI-90X combines a basin and a toilet built into one station, both of which meet the standards required by high-security facilities. This design reduces the complexity of your facility's layout by providing a complete sanitary solution in a small footprint. Its minimalist design limits ligature points, creating a safer environment and helping high-security institutions provide a more private setting by minimizing the need for invasive safety and surveillance measures.

With its ambulant design, the MI-COMBO-90 adapts to the user, not the other way around. Whatever your users' body types, ages, or movement capabilities, this toilet has been built to accommodate their needs. Additionally, the small footprint of the design ensures that it frees up as much space as possible for the rest of the layout, contributing to a better living space configuration.

Its stainless steel construction provides extreme resistance to potential abuse and vandalism. The simplicity of its construction makes cleaning easy, and servicing is simplified with the side panel providing access to the plumbing underneath, making maintenance hassle-free.

With the stainless steel floor-mounted ambulant pan and basin, McDonald Industries provides you with a complete solution to the sanitary facility needs of high-security institutions, keeping residents and personnel in mind.

Features:
An ambulant design that adapts to your users, regardless of their movement capabilities.
High degree of vandalism protection with heavy-duty 304 stainless steel construction.
Minimized ligature points for a safer environment.
Small footprint design that provides a complete bathroom suite solution.
3/6L flush meeting WELS 3 Star performance requirements.
Floor mounted and access panels on both sides for easy access and maintenance.

Models:
MI-COMBI-P - MI stainless steel combi unit 90 degree P-trap
MI-COMBI-S - MI stainless steel combi unit 90 degree S-trap

Still not sure if it is the right product for you? Let us help you. At MacDonald Industries we are about products and much more. MacDonald Industries, it is also an experienced technical team dedicated to your success. From conception to construction, we help you find the products that fit your needs and comply with local legislation. Kiwis and Australians alike have trusted us since 1966; let us show you why.

    Features:
    An ambulant design that adapts to your users, regardless of their movement capabilities.
    High degree of vandalism protection with heavy-duty 304 stainless steel construction.
    Minimized ligature points for a safer environment.
    Small footprint design that provides a complete bathroom suite solution.
    3/6L flush meeting WELS 3 Star performance requirements.
    Floor mounted and access panels on both sides for easy access and maintenance.

    Send us an enquiry about MI stainless steel combi unit 90 degree - S-trap